服务热线:

400-665-0027

知识资讯
联系我们

电话:400-665-0027


您当前位置:首页 > 知识资讯  > 知识学习 > 正文知识学习
金蝶云会计如何合并不同年度的账套
服务热线:400-665-0027 新购有特价、金蝶老客户升级金蝶云产品可以享受5折优惠,送手机、送话费,好礼不断!

【问题描述】

如何把多个不同年度的账套合并成一个账套?

如何把多个账套的数据合并为一套账?


【业务场景】

1、第三方软件数据导入云会计,有多年账套数据时, 想合并不同年度的账套。

2、想将云会计系统中多个账套里的数据合并为一个账套。


【操作说明】

第三方转换导入的财务软件,目前支持KIS标准版/迷你版以及用友系统软件支持多年合并导入

如其他第三方财务软件,账套科目是分年度存储的,只能分年度选择导出账套数据,则可做变通处理:以最早年度的数据为基础,然后把后面年度的凭证导出exce,再用l导入最早年度账套中。


【操作流程】

1,在线会计按年份创建账套,分别导入每一年账套数据,如2019年、2020年、2021年。

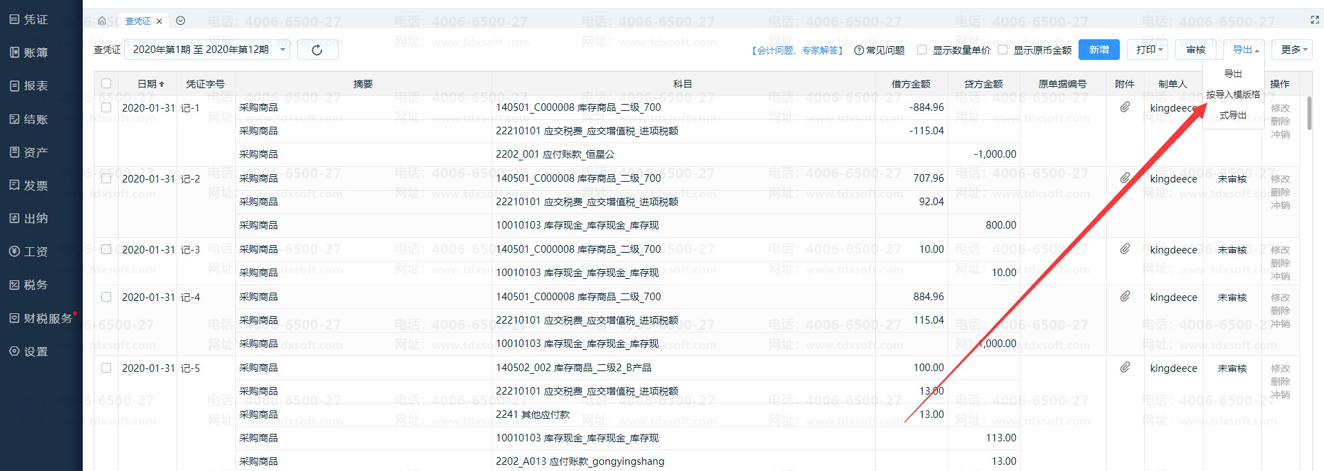
2、导入成功后,进入最新一年的账套(如2020年),在【查凭证】把2020年一整年的凭证筛选查询出来后,右上角【导出】,选择【按导入模版格式导出】,把一整年的凭证导出Excel表格备用。

注意:导出的文件为EXCEL格式,存放在电脑桌面

3、进入最早一年的账套里(如2019年),先把2020年新增的科目,在2019年的账套里补充完整;然后到查凭证界面,将导出的凭证Excel表格导入账套中即可实现合并。

选择中导出的凭证模版,导入的凭证日期默认是2020年,如凭证号需要重新编号,勾选【凭证重新编号】。

4、导入成功后,把2020年所有的结转损益凭证删除,然后在系统里重新结转损益,重新结账生成报表即可。

5、2021年账套的凭证,也是按上面的步骤2,3,4操作,把凭证导出来后, 导入到最早一年(如2019年)的账套里。

6、凭证全部合并到最早一年的账套(2019年的账套)后,与原软件核对报表数据,没问题后,可直接在2019年的账套里,录入新的凭证数据;然后把2020年,2021年账套重新初始化,把所有数据清空即可。